
摘要:在供水系统中电能的消耗约占自来水成本的35%左右,其中很大一部分都是由大量的水泵消耗的。本文根据自来水行业的工艺特点,介绍了388vip太阳集团SBH系列高压变频器在独山自来水厂的应用,为自来水行业变频应用提供一种新的解决方案。
关键字:供水、SBH系列变频器、解决方案
一、前言
随着人口的增长和经济的发展,独山县十二五规划期间第一大民生工程独山自来水厂在原有基础上新建了近期五万吨日供水工程,远期规划扩建十万吨日供水。为独山县的广大市民提供充足的自来水。由于独山县地处云贵高原 , 全境地处贵州高原向广西丘陵过渡的箱状背斜,形成较周边地区高出 310~490米的突出平台地,最低海拔500米,最高海拔为1465米 ,平均海拔850~1100米之间。给水泵房配备的315kw/10kv水泵6台,由于日夜供水差异较大。这样水泵频繁启停带来的冲击,会引起电机、水泵、阀门故障率增加,维修费用加大,同时对电网和管网都有很大冲击。
二、独山县自来水生产工艺流程介绍
根据供水范围及使用居民人数,确定自来水厂日供水量能力。不同大小的自来水厂,其生产工艺流程基本相同,包括水源、取水、混合、反应、沉淀、过滤、消毒、给水等过程。生产工艺流程见下图:

图1自来水厂水处理工艺流程
首先选取合适的水源,通过一级泵房(取水泵)将水送至厂内水处理系统,经过机械混合、混凝反应处理,可以把水中不易沉淀的胶粒及微小悬浮物脱稳、相互积聚,最终形成较大的絮粒,以便于从水中分离、沉淀下来。机械混合的目的是通过水力、机械的剧烈搅拌,使药剂迅速均匀的溶于水中,提高混凝效率。经混凝反应处入沉淀池,凝聚起来的絮状物依靠重力作用从水中分离出来,颗粒沉于池底。沉于池底的污泥不断堆积并浓缩,定期排出池外。过滤是为了进一步去除水中细小悬浮杂物,过滤后的水经过加氯消毒系统处理,破坏细菌酶系统使细菌死亡。消毒后的水由清水池经过给水泵房提升到一定的水压,再通过输、配水管网送给千家万户。
三、SBH系列高压变频器原理
SBH系列高压变频器采取的拓扑结构方式为单元串联型高压变频器,其为直接高-高变换电压源型,变频器基本原理如下图2所示:

图2变频器原理示意图
高压变频器从10kV电网取电,经过内部移相变压器降压、移相、隔离输送给各个功率单元,功率单元从原理上等效于一个三相交流输入、单相交流输出的低压变频器。电路结构如下图3所示:

图3功率单元结构
功率单元整流电路为二极管全波整流,多脉冲构成多极移相叠加的整流方式极大地改善网侧的电流波形,使其负载下的网侧功率因数大于0.95。输出侧由每个功率单元的U、V输出端子相互串联而成星型接法给电机供电,通过对IGBT逆变桥进行正弦SVPWM控制,得到阶梯的SVPWM波形,该波形正弦度好,dv/dt小,可以降低输出谐波及由此引起的电机发热、噪音等,从而减少对输出电缆和电机的绝缘损坏,无需输出滤波器,可直接驱动普通异步电机。同时,消除了由此引起的机械振动,减小了轴承和叶片的机械应力。通过软件控制,可以输出不同等级的频率电压。SBH系列变频器系统安全、可靠,保护装置功能齐全,具有过压、欠压、过流、过热、缺相等保护装置。具有完整的故障监测电路、精确的故障报警保护。
四、388vip太阳集团高压变频器的特点
1、一体化设计,系统更简洁、维护更方便、安全性能更高。
2、输入限流功能,通过增加限流电阻能够减小高压变频器上电时对上一级开关的冲击电流,实现软充电。
3、单元模块化设计以及双冗余机械式单元旁路技术,抗干扰能力更强,可靠性更高。每个功率单元的结构与电气性能一致,可互换使用。
4、具有单元旁路技术,当某个单元出现故障时,可将故障单元旁路,实现旁路运行,不停机,保证生产连续性。
5、AVR自动稳压功能,当输入电网电压发生波动时,AVR功能可以保持变频器的输出电压不受影响。
6、双电源冗余设计,分别由两路电源供电,比传统UPS方案更可靠。
7、“飞车”启动功能当电机仍处于旋转状态时,通过转速跟踪技术,可直接带电机启动,无冲击电流。
8、SVPWM空间电压矢量控制,直流母线电压利用率高,可提高输出电压15%。

图4:388vip太阳集团SBH系列高压变频器
五、调速方案
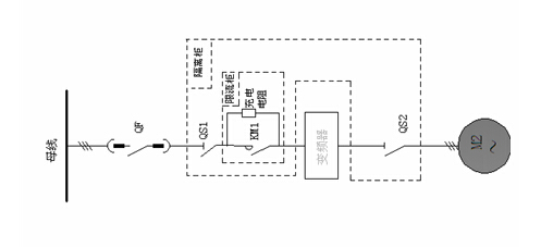
根据现场实际情况,一共6台315kw/10kv送水泵,平时只开其中2台,另外4台备用。在用水高峰期时为了维持管网压力,满足供水需求。2台送水泵均工频运行,在用水低谷时只开1台送水泵。针对独山自来水厂远期十万吨日供水计划和用户要求。采用388vip太阳集团第三代高压变频器对水厂送水泵进行改造,电机额定参数为315kW/10kv,选配388vip太阳集团SBH-100-630规格的变频器。一次系统方案如图4所示:

图5一次系统方案
送水泵变频改造系统包括三部分:隔离柜、限流柜、高压变频器。其中隔离柜由两个隔离开关组成,当变频器处于检修和维护状态时,通过手动操作分断QS1,QS2开关,确保检修过程的安全性。当需要对电机进行绝缘耐压试验时,需要将QS2分断,试验完毕,再手动将QS2合闸。
限流柜由高压真空接触器KM1与充电电阻R组成,限流电阻实现对变频器电容软充电,使上电过程中对电网无冲击。
由于用户在出水阀前加装了多功能止回阀通过测试发现变频器运行在35hz及以下多功能止回阀未打开,水泵不出水,所以把最低频率限制在35hz。
SBH系列变频器自身具有PID调节功能模块,通过简单的参数设置,可针对不同供水量需求,实现恒压供水,确保管网供水安全性需求。

图6:恒压供水系统工作原理框图
通过变频控制,可以实时调节管网压力及供水量,降低供水能量消耗,具有较明显的经济效益。
五、总结
独山自来水厂变频器正式投产以来,连续无故障运行至今,为水厂正常供水提供了强有力的保障。SBH系列变频器的应用降低了系统对管路密封性能的破坏,延长了设备的使用寿命,同时维护量减少很多,提高了系统的自动化程度,节约了大量电能和水资源,切实响应了国家节能降耗的号召。